Much to the displeasure of its fans, OnePlus has given up the 3.5mm headphone jack, supposedly leaving LG, Vivo and Samsung as the final flagships to support the legacy port. Although next year’s Galaxy S10 is rumoured to retain the connector, new reports suggest that it could very well be …
Read More »OnePlus will be ditching the 3.5mm headphone jack to potentially increase battery life
Earlier this week, we got a closer look at the rumoured specifications of the upcoming OnePlus 6T, speculating camera tweaks, storage options and the firm’s “light-sensitive fingerprint sensor under the display.” It seems that the firm will also be giving up the headphone jack moving forward, however co-founder Carl Pei …
Read More »Razer’s CEO explains the benefits of removing the headphone jack
As great as some of this year's flagship smartphones are, one thing that has been concerning consumers is the removal of the headphone jack. The latest phone to ditch the traditional 3.5mm port is the Razer Phone. It's a move that not everyone is happy with, but according to Razer's …
Read More »OnePlus confirms it won’t be ditching the headphone jack anytime soon
Since the launch of the iPhone 7, the future of the headphone jack on mobile devices has been up in the air. So far, Apple, Google, HTC, Motorola and even Razer have all begun moving away from the traditional port. Samsung is rumoured to follow suit next year. However, one …
Read More »Google launches its own alternative to Apple’s AirPods- Pixel Buds
Last night at Google’s hardware launch event, it became clear that the company wants to continue pushing the Google Assistant as much as possible. Not only did we see the launch of the Google Home Mini and Pixel 2 smartphone, but Google also launched ‘Pixel Buds’, which are essentially an …
Read More »HTC follows Apple’s lead and ditches the headphone jack
Apple received a lot of criticism when it first abandoned the traditional headphone jack last year but unfortunately, it looks like the trend has now been set in motion. Not only are there reports that Samsung's upcoming Galaxy S8 may abandon the feature but this week HTC announced the HTC …
Read More »Apparently the Samsung Galaxy S8 will also remove the headphone jack
With the launch of the iPhone 7 this year, Apple officially removed the headphone jack, a move that has been heavily criticised ever since. However, it seems the criticism Apple is facing isn't going to deter other smartphone makers from doing the same thing as reports this week claim that …
Read More »We now know what replaced the headphone jack on iPhone 7
We knew that the iPhone 7 would drop the headphone jack as far back as 2015 and nobody could really figure out the benefits to doing so. One of the reasons Apple gave was to save space inside of the iPhone 7 for other components. Given that the headphone jack …
Read More »Intel also wants to replace the 3.5mm headphone jack
It looks like the 3.5mm headphone jack is going to suffer an abrupt end over the next few years. Not only is Apple planning to ditch it entirely on its next iPhone but now Intel has weighed in on the conversation and it seems that the chip making giant would …
Read More »Apple patents design for super thin iPhone speakers
We have been hearing a lot about the iPhone 7 these last few weeks along with Apple's future plans for audio on its flagship smartphone. Following on from reports that Apple is set to kill off the 3.5mm headphone jack to save space, a patent has been uncovered showing off …
Read More »Over 200,000 people sign petition to stop Apple removing headphone jack
Right now, the rumour going around that Apple has decided to remove the headphone jack from the iPhone 7 is picking up a lot of steam. While nothing has been confirmed, anonymous ‘supply chain' sources have claimed that in an effort to make the iPhone 7 even thinner, the headphone …
Read More »Apple may offer wireless Ear Pods instead of a headphone jack
We have been hearing for a while that Apple may be planning to ditch the headphone jack in an effort to make the iPhone 7 even thinner and now, new reports seem to be backing that idea up. According to supply chain sources in China, Apple has officially dropped the …
Read More »Apple’s iPhone 7 may ditch the headphone jack
Apple is on a constant mission to make its devices thinner than before. We saw this with the iPhone 6, which has the camera sticking out of the back of the phone slightly and now, Apple is apparently also thinking about ditching the headphone jack in order to make the …
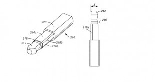
Read More »Apple is reinventing the headphone jack
Apple is once again attempting to reinvent connectors for its devices. The company has a long history with proprietary connectors, we have seen the 30-pin dock connector on older iPhones and iPods, we have seen the Lightning connector and now, Apple is trying its hand at reinventing the headphone jack. …
Read More »
KitGuru KitGuru.net – Tech News | Hardware News | Hardware Reviews | IOS | Mobile | Gaming | Graphics Cards

