Apple dropped Touch ID from the iPhone in 2017 and 2018, choosing to go all-in on Face ID for biometric security. Still, Touch ID hasn't gone away completely, and is still in use on a few products. For a while now, we've been expecting Touch ID to return to the …
Read More »Apple patent details in-display Touch ID and Face ID
For years now, we've known that Apple has been working on a method to reintroduce Touch ID as an in-screen sensor. The company has also been working on ways to shrink its Face ID module to further increase screen-to-bezel ratios and overall iPhone display sizes. Now, Apple has been granted …
Read More »Apple expected to bring Touch ID back to iPhone in 2022
We have yet to see Apple's plans for this year's batch of iPhones and yet, we're already hearing details on what's to come in 2022. Next year, it is expected that Apple will finally introduce an under-display version of Touch ID, as well as a price cut for its cheapest …
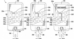
Read More »Apple’s latest patent shows new under-display Touch ID sensor
Over the last couple of years, Apple has been slowly phasing out the Touch ID fingerprint sensor on the iPhone and replacing it with Face ID. Touch ID might not be gone forever though, as Apple has been awarded a patent for an under-display Touch ID sensor. Apple will continue …
Read More »Apple might bring back Touch ID with under-screen sensor
Over the last couple of years, Apple has phased out Touch ID and replaced it with Face ID. The change is partially driven by the new reduced bezel design, although there were also reports that Apple couldn't get an under-display version of Touch ID working properly. Now, it looks like …
Read More »WhatsApp bolsters security on iOS with Touch and Face ID support
The latest WhatsApp update allows iOS users to add an extra layer of biometric security to the application. Fans of the Facebook-owned chat service will now be able to utilise Apple’s proprietary Touch ID and Face ID thanks to a new feature called Screen Lock. Apple’s fingerprint-based Touch ID has …
Read More »Apple may replace Touch ID with Face ID across the board next year
While the iPhone 8 and 8 Plus are already out in the wild, Apple still has one more iPhone up its sleeve for 2017- the iPhone X. One of the big flagship features for the X is Face ID, which may replace Touch ID across the board next year. According …
Read More »Leaked design document shows iPhone 8 Touch ID and camera changes
It looks like Apple has settled on a fix for its Touch ID placement problem. Earlier this week, we heard that Apple had been having issues integrating its fingerprint sensor into its new OLED display. To get around this, a newly leaked design document shows Apple moving the Touch ID …
Read More »Apple may have to delay ‘iPhone X’ due to Touch ID troubles
It seems that Apple's upcoming 5.8-inch OLED iPhone may end up missing its September release date as Apple is reportedly having issues with integrating the Touch ID sensor within the display. This is being described as Apple's “biggest bottleneck” in the build up to mass production of the next iPhone. …
Read More »Apple has a fix for iPhones bricked by Error 53
Over the last few months, iPhone users have found their devices bricked by Error 53, which is an error when an iPhone is taken in for a third-party repair and Touch ID is not re-authorized. This month, Apple officially acknowledged the bug and has now offered a fix to those …
Read More »iPhone users hit with ‘Error 53’ Touch ID glitch
It looks like getting your iPhone 6 fixed by a cheaper, unauthorised technician could cause you some future problems as this week, some iPhone users have had a frustrating time thanks to a mysterious glitch known as ‘Error 53'. This error is down to Touch ID and is triggered by …
Read More »iPhone 6C rumours resurface
Apple's iPhone 5C didn't do too well, media speculation and ‘leaks' prior to its announcement all pointed towards it being a cheaper, plastic iPhone. Unfortunately, instead what we got was a fairly expensive plastic iPhone, at least that is how it was at launch. Things have settled down since then …
Read More »Future Apple TV remote may have Touch ID
It looks like Apple is looking to expand its Touch ID fingerprint sensor in to other products as a recently filed patent from the company suggests that future Apple TV remotes will come with the technology built-in. This would add an extra layer of security when setting up TV service …
Read More »Apple may have mistakenly outed the iPhone 6C early
It looks like someone over at Apple may have messed up a bit. The company recently launched a new lightning dock for the iPhone 6 and 6Plus but in the gallery of pictures, someone accidentally left in an unannounced, plastic-backed iPhone with a Touch ID home button. Right now the …
Read More »Qualcomm developing a fingerprint sensor to rival Touch ID
Qualcomm is looking to take on Apple's Touch ID with its own biometric fingerprint sensor, which should end up being more technically advanced than Apple's solution along with Samsung's new sensor found in the Galaxy S6 flagship. Qualcomm has announced its new fingerprint reader, which uses ultrasonic waves to verify …
Read More »More rumors suggest that Touch ID could come to Macbooks
This week we have new rumors pointing towards the future of Touch ID and Apple's Macbook line. According to evidence from Apple Supply Chain sources, Touch ID functionality could be coming to this year's round of Macbooks, extending the technology beyond the iPhones and iPads. An unofficial Apple blog site based …
Read More »iPhones 6S to use improved Touch ID sensor
Apple's next iPhone, presumably to be called the iPhone 6S, will launch later this year featuring a much improved version of the Touch ID sensor, which originally made its debut on the iPhone 5S just under two years ago. Apple has a history of following up major design shifts with …
Read More »Here is why the Nexus 6 doesn’t have a fingerprint sensor
Apparently it is Apple's fault that Motorola didn't include a fingerprint sensor on the Google Nexus 6 smartphone, according to new reports. Former Motorola CEO, Dennis Woodside, confessed that the Nexus 6 was originally supposed to include a fingerprint sensor. Motorola was originally working on fingerprint sensor technology as far …
Read More »The ViewSonic V55 smartphone may launch with an Iris scanner
The ViewSonic V55 smartphone is currently penciled in for an early 2015 release and could very well be the first consumer smartphone in the world to launch with iris scanning technology implemented. Bio-metrics began sneaking on to smartphones and other devices last year with fingerprint scanners but now it looks …
Read More »New Apple Patent shows Touch ID upgrade
Patent applications often reveal future or potential company plans some time before announcement. Today, a new Apple patent is showing off a rather big Touch ID sensor upgrade, which likely won't be officially announced until next September alongside the new iPhones. Originally found by AppleInsider, patent application 13/918221 shows off …
Read More »
KitGuru KitGuru.net – Tech News | Hardware News | Hardware Reviews | IOS | Mobile | Gaming | Graphics Cards

