As the launch of Crimson Desert looms, Pearl Abyss has provided an exhaustive breakdown of how its highly anticipated open-world title will perform across a sprawling landscape of gaming hardware. By unveiling specific targets for PC, home consoles, and even dedicated handhelds and Mac specifications, the studio seems pretty confident …
Read More »BenQ expands MA series with new MA270S and MA320UG 5K monitors
BenQ has expanded its Mac-centric MA Series with the premiere of two new models: the MA270S and the MA320UG. Building on the success of the original MA lineup, these 2026 models are designed to integrate even more seamlessly into the Apple ecosystem. While traditional monitors often suffer from colour mismatch …
Read More »Cyberpunk 2077: Ultimate Edition finally comes to macOS this week
CD Projekt Red has been working with Apple's new Macs for a while now, having ported over the classic Witcher titles to run on Apple M1 and newer Macs. Now, CD Projekt Red is going for something more ambitious – a Mac release of Cyberpunk 2077. Cyberpunk 2077: Ultimate Edition …
Read More »Apple Arcade reportedly saw just 2 million subscribers in its first year
While the company itself has not shared any figures, Apple Arcade reportedly only attracted 2 million users within its first year of operations.
Read More »Cyberpunk 2077: Ultimate Edition is heading to Macs
CD Projekt has announced plans to bring Cyberpunk 2077: Ultimate Edition to Macs starting in early 2025. The news arrive just after the launch of the Apple M4.
Read More »Resident Evil 2 Remake is the next AAA game for iOS
We’ve already seen the likes of Resident Evil 7 and Resident Evil Village on iOS and macOS. Now, Capcom is bringing over Resident Evil 2 Remake.
Read More »Death Stranding comes to iOS next week
Back in June of last year, Hideo Kojima announced that the award-winning open world ‘strand-type’ game Death Stranding would be coming to Apple’s Mac platform. This was later followed up by the reveal that the game would also be coming to the latest iPhone models. Initially intended to release late …
Read More »The Witcher 1 & 2 can now be played on Apple Silicon-powered Macs
CD Projekt Red has made some surprising Witcher-related announcements recently. Not only is The Witcher 3 soon getting support for a full mod editor, enabling creators to make their own quests and original content in the game, but the studio is also going back and updating The Witcher 1 & …
Read More »Apple teases ‘scary fast’ Macs launching next week
We're a month on from the launch of the latest iPhone but Apple isn't done for the year just yet. As usual, the September iPhone event is being followed up by an extra hardware event in October. This time around, Apple is teasing “scary fast” Macs. The October Mac event …
Read More »CD Projekt Red is updating The Witcher and The Witcher 2 to support Apple Silicon
While Valve might be ditching macOS support for its new releases like Counter-Strike 2, plenty of other developers are actually increasing their support for the system. CD Projekt Red is amongst that group, as the company is going back to The Witcher 1 and The Witcher 2 to support newer …
Read More »Steam Deck adoption pushes Linux over Mac
It has been about a year and a half since the Steam Deck launched. The Linux-powered PC gaming handheld is consistently a top seller on Steam but until now, Windows and Mac remained as the two most-used operating systems amongst Steam gamers. Now, that has finally changed, with Linux overtaking …
Read More »Apple introduces Proton-like emulation for Windows games on Macs
In recent years, Apple has been focusing more on gaming, particularly on the Mac platform. Its latest chips have powerful, efficient iGPUs, paving the way for games like Death Stranding and No Man's Sky on Mac. Now, Apple is testing new ways to make bringing games to Mac easier for …
Read More »Death Stranding and future Kojima games coming to Mac
Apple’s annual WWDC (Worldwide Developers Conference) has concluded, and alongside the official announcement of iOS17, new Macbooks and the company’s long-awaited AR/VR headset, Hideo Kojima made an appearance to reveal that Kojima Productions’ games are coming to MacOS. During the MacOS section of Apple's latest WWDC event, the video game …
Read More »Pokémon TCG Live enters open beta on PC and mobile
Since the release of Hearthstone, online card games have become increasingly popular. Other traditional TCGs like Yu-Gi-Oh and Magic The Gathering have made the transition to digital offerings and soon, the Pokemon card game will be doing the same thing. Pokemon TCG Live just entered open beta on PC and …
Read More »Apple launches octa-core M2 processor with 35% faster GPU
Last night during Apple's WWDC keynote, the company officially launched its next generation Apple Silicon processor. The new M2 chip is heading to Macs this year, promising 18% faster CPU performance and 35% faster GPU performance.
Read More »GeForce Now is bringing 4K streaming to PC and Mac, 120Hz streaming to Android
Yesterday for May 4th, we learned that a handful of Star Wars games were coming to GeForce Now for the first time. Now right on schedule, the full list of then games coming to the service was revealed today, as well as a sneak preview of some of the other …
Read More »GeForce Now update brings support for M1 Macs
The final GeForce Now update for the month has arrived. This week, 14 more games are being added to the service, half of which are brand new releases. Additionally, Nvidia has made some improvements to GeForce Now on Mac systems. This week, Nvidia is improving the GeForce Now experience for …
Read More »Apple to announce new iPhone SE and iPad Air next week
For a few weeks now, we've been hearing that Apple will hold a new hardware event in March. These reports have been accompanied by leaks for a new iPad, a new iPhone and more. Now, we appear to have confirmation on this, with Apple officially scheduling its event for next …
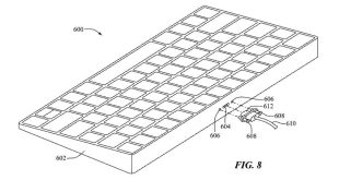
Read More »Apple’s latest patent details a keyboard with a built-in Mac
A newly found patent from Apple suggests the company may be working on a keyboard computer similar to the Raspberry Pi 400. Simply put, this device would be like a laptop without a monitor. The patent shared by Tom's Hardware includes various images where we see the keyboard Mac with …
Read More »Apple to launch three new Macs next month
Apple isn't very good at keeping a secret and despite repeated internal attempts to stop leaks, information still seems to make its way out of the company's HQ freely. Currently, Apple is expected to hold a hardware-focused event in March, during which we could see three new Macs announced. Apple …
Read More »Apple surpasses 1.8 billion active devices
Despite supply chain struggles and slower production lines, Apple managed to make record amounts of revenue in Q4 2021, bringing in a whopping $123.9 billion, beating out even the highest estimations. As you would expect, this revenue surge was largely driven by iPhone sales, expanding Apple's reach to 1.8 billion …
Read More »Apple’s first AR headset to arrive in 2022 with dual 4K displays and ‘Mac level’ power
As usual with Apple products, its upcoming Augmented Reality headset is one of the worst kept secrets in the industry. At this point, it is widely expected that Apple will launch its first AR device in 2022, and the latest reports back up that claim, while adding on an important …
Read More »Apple will sell iPhone and Mac parts so users can self-repair devices at home
After years of fighting against customer's right to repair, Apple is taking a step in the right direction. Today, Apple announced plans to start selling its own parts and tools for users to repair their devices at home. To start off with, Apple will release repair parts for the iPhone …
Read More »Apple 3nm chips to launch in 2023, sources claim
After launching the M1 and M1 Pro chips based on the 5nm process node, it seems Apple is now moving to newer process nodes. According to sources, Apple will be making the jump to 3nm for its second and third generation M-series processors over the next two years...
Read More »Logitech launches MX Keys Mini with ‘perfect stroke’ design for quick typing
This month, Logitech is launching a smaller, smarter keyboard for creators. The new MX Keys Mini and MX Keys Mini for Mac keyboards offer a compact, wireless design, built around ergonomics. The Logitech MX Keys Mini is equipped with Perfect Stroke, Logitech's new and improved non-mechanical typing technology. The minimalist, …
Read More »LaCie’s latest portable SSDs offer up to 1000 MB/s write speeds and up to 2TB capacity
Today, Seagate subsidiary, LaCie, is launching two new portable SSDs, aiming to deliver high performance for a seamless workflow. There are two options to choose from, the LaCie Mobile SSD Secure and the LaCie Portable SSD, both providing up to 2TB of mobile storage. The LaCie Mobile SSD Secure and …
Read More »Apple patent details in-display Touch ID and Face ID
For years now, we've known that Apple has been working on a method to reintroduce Touch ID as an in-screen sensor. The company has also been working on ways to shrink its Face ID module to further increase screen-to-bezel ratios and overall iPhone display sizes. Now, Apple has been granted …
Read More »Apple to introduce M2 processor with new MacBook Air in early 2022
Shortly after Apple unveiled the first M1 powered Mac systems, rumours began swirling about the company's next gen chip. According to reports this week, we'll be seeing the Apple M2 relatively soon, with plans to introduce the chip in new Macs in the first half of next year. According to …
Read More »Parallels is working on bringing Windows 11 to Macs
If you've ever wanted to run Windows on a Mac, then chances are you've used Parallels for that task. The company has previously supported major versions of Windows and the company has now confirmed that it is working on bringing Windows 11 to Macs as well. The last major version …
Read More »Valve releases Steam Link app for macOS
Valve has announced plans to launch its dedicated Steam Link app for macOS this week. The app, which is available on other platforms already, allows users to stream their Steam games from a PC to any device with the app installed. Steam Link is already available on a couple of …
Read More »
KitGuru KitGuru.net – Tech News | Hardware News | Hardware Reviews | IOS | Mobile | Gaming | Graphics Cards

